燃气辐射管烧嘴
网站编辑:admin │ 发表时间:2022-05-20 │
对于需要控制炉内气氛的热处理炉,常选用间接加热方法,即燃烧产物与被加热工件相隔离。燃气辐射管就是其中的一种。
一、燃气辐射管的工作原理
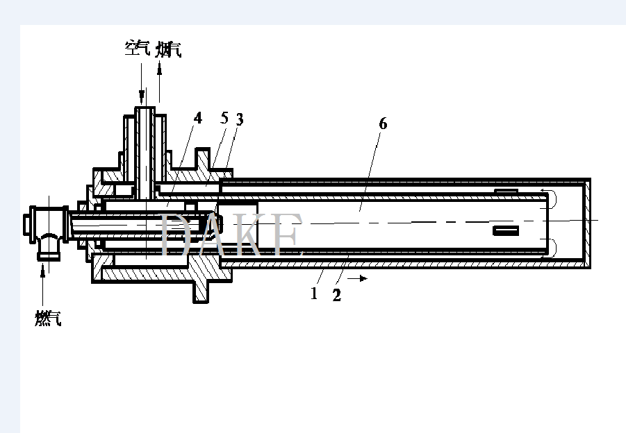
燃气辐射管主要由管体、烧嘴和废热回收装置所组成,其工作原理如DAKE图1所示,在耐热钢或耐热陶瓷材料制成的辐射管中,使燃气完全燃烧,以加热管子,利用被加热的管子所放出的辐射热来加热炉子以及炉内待处理的工件或材料。所以也把辐射管称为内燃式管状加热器,辐射管是以辐射传热为主。
DAKE图1
二、辐射管烧嘴特点
(1)由于燃烧废气不引入炉内,因此,炉内气氛便于控制和调节。
(2)炉内温度分布可根据辐射管的配置情况予以控制,并达到均匀加热。
(3)由于加热、冷却迅速、调节幅度大,可实现较复杂的温度控制和加热程序化。
(4)根据炉子的形式和用途,可任意选用辐射管的形式(如直管型、套管型、U型等)。
(5)便于安装废热回收装置,以提高热效率。
三、辐射管烧嘴分类
燃气辐射管有直管型、套管型、U型、W型、O型、P型、三叉型、如DAKE图2所示。
DAKE图2
(1)直管型辐射管
其结构简单,在直管的一端装烧嘴。使燃气在管内燃烧、燃烧废气由管子的另一端排出。这种形式的管子表面温度分布差、热效率低。当闷炉或停炉时,因自然通风而引起热量损失。在高温应用时,可使用陶瓷材料辐射管。若两根直管型辐射管成对使用,一根管子出口安装废热回收装置,可为另一根辐射管预热燃烧所需的空气。这样既能改善辐射管表面温度分布,又能提高热效率。但是,安装拆卸极不方便。
(2)套管型辐射管
具有由内管和外管制成的套管式结构,管子表面温度分布均匀,热效率高,拆装方便,因采用废气再循环的套管型辐射管、其管子表面温度分布更趋均匀,内管热应力降低,废气温度降低,热效率提高。由于内管温度比外管高出约100°C,所以,内管材料的耐久性要求更高,提高了制作费用。
(3)U型辐射管
相当于加长的直管型辐射管,在中间弯曲而成。烧嘴和废热回收装置可以安装在同一侧、这种形式的辐射管表面温度分布尚均匀、热效率较高,也广为选用。
(4)W型、O型、P型辐射管
W型辐射管的热效率要比U型高,但是,辐射管表面温度分布和使用寿命不及U型。P型辐射管是一种废气再循环形式。由于结构复杂、制作困难,实际使用少。O型辐射管制造复杂、造价高、管子表面温度分布不均,使用寿命不及U型,实际应用亦不多。
实际上,带废热回收装置的套管型辐射管、带废热再循环的套管型辐射管、带废热回收装置的U型辐射管等,应用广泛。





























技术咨询QQ
18703971931